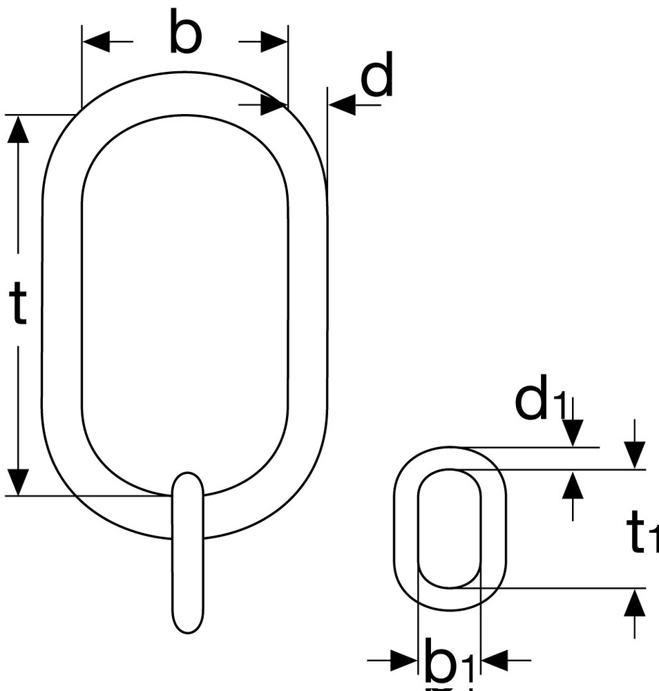
Aufhängeglied und Zwischenglied für ein- und zweisträngige Ketten
| Nenngröße | ca. Gewicht in kg/St./m | d mm | t mm | b mm | d1 mm | t1 mm | b1 mm | Artikel Nr. |
|
10 - 1
|
0,6
|
16
|
100
|
50
|
13
|
54
|
25
|
19116001
|
|
13 - 1
|
1,4
|
20
|
140
|
80
|
16
|
70
|
34
|
19120001
|
|
16 - 1
|
2,7
|
26
|
140
|
80
|
20
|
85
|
40
|
19126001
|
|
10 - 2
|
1,4
|
20
|
140
|
80
|
13
|
54
|
25
|
19220001
|
|
13 - 2
|
2,7
|
26
|
140
|
80
|
16
|
70
|
34
|
19226001
|
|
16 - 2
|
4,4
|
30
|
175
|
100
|
20
|
85
|
40
|
19230001
|