Aufhängeglied oval für zweisträngige Ketten KUN 1.71 Typ A2, DIN 5688, Güteklasse 5

/onecol/cms/177/aufhaengeglied-kettenblau.jpg

KU-Rostfreie-Anschlagketten Güteklasse 5 im Baukastensystem:
hohe Tragfähigkeiten, selbst zu montieren (Flexibilität!), alle Bauteile 100% aus rostfreiem Material

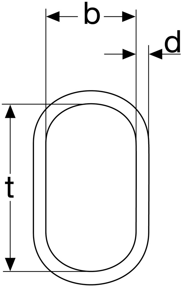
Nenngröße Trgafähigkeit in kg ca. Gewicht in kg/St./m d mm t mm b mm Artikel Nr.
6 - 5
1.000
0,34
13
110
60
17113001
8 - 5
2.000
0,8
18
135
75
17118001
10 - 5
3.200
1,5
22
160
90
17122001
13 - 5
5.000
2,3
26
180
100
17126001
16 - 5
7.100
3,9
32
200
110
17132001