DIN 5686

/onecol/cms/262/399x117_DIN_5686.jpg

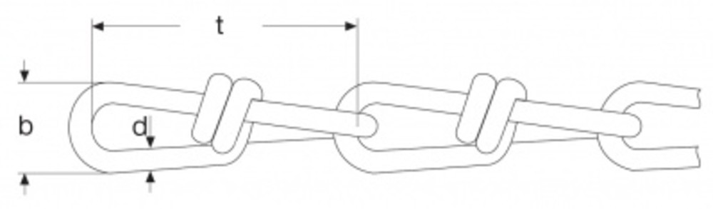
Nenndicke d Nenndicke Grenzabmaße Teilung t Teilung Grenzabmaße Breite b min. Gewicht kg/100m
1,0
± 0,1
14
± 1
4,5
2
1,2
± 0,1
17
± 1
5,5
3
1,4
± 0,1
20
± 1
6,5
4
1,6
± 0,1
22
± 2
7,0
5
1,8
± 0,1
25
± 2
8,0
7
2,0
± 0,1
28
± 2
9,0
8
2,2
± 0,1
31
± 2
10,0
10
2,5
± 0,1
35
± 2
11,0
14
2,8
± 0,1
39
± 3
13,0
16
3,1
± 0,2
40
± 3
14,0
20
3,4
± 0,2
44
± 3
15,0
25
3,8
± 0,2
46
± 3
17,0
32
4,2
± 0,2
50
± 4
19,0
40
4,6
± 0,2
55
± 4
21,0
46
5,0
± 0,3
60
± 4
23,0
53
5,5
± 0,3
66
± 5
25,0
65
Da die bisherige handelsübliche Bezeichnung dieser Ketten mit den früheren Kenn-Nummern teilweise noch verwendet wird, ist eine Gegenüberstellung in der folgenden Tabelle angegeben.
DIN-Bezeichnung nach Nenndicke d 1,0 1,2 1,4 1,6 1,8 2,0 2,2 2,5 2,8 3,1 3,4 3,8 4,2 4,6 5,0 5,5
Bisherige handelsübliche Kenn-Nr. K10 K12 K14 K16 K20 K22 K25 K27 K30 K32 K35 K40 K45 K50 K55 K60
Die Ketten werden üblicherweise – wenn Angaben zur Oberfläche fehlen – galvanisch verzinkt geliefert, können aber auch blank oder feuerverzinkt geliefert werden.