Förderketten mit Hohlbolzen, ISO Bauart MC, DIN 8168-1

/onecol/cms/167/foerderketten-holzbolzen-01.jpg

ohne Rollen

/onecol/cms/166/foerderketten-holzbolzen-02.jpg

mit Laufrollen Form A

/onecol/cms/165/foerderketten-holzbolzen-03.jpg

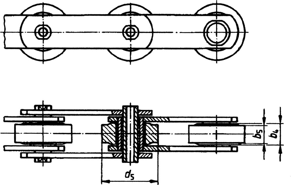
mit Schonrollen Form B und C

/onecol/cms/164/foerderketten-holzbolzen-04.jpg

mit Bundlaufrollen Form F und G

Chain-N°
p
b1 min. b3 min. b4 max. b5 max. s breaking load kN permissible tractive force kN bearing area cm²
MC 28
63 - 160
20
28,3
19
18
3,5
28
4
3,64
MC 56
80 - 250
24
33,3
23
22
4,0
56
8
5,11
MC 112
100 - 315
32
45,5
31
29
6,0
112
16
9,90
MC 224
160 - 500
43
60,6
42
40
8,0
224
32
18,60
Chain-N°
d1 max. d2 min. d3 max. d4 max. d5 max. d6 max. d8 min.
MC 28
13,0
13,1
17,5
25
36
42
8,2
MC 56
15,5
15,6
21,0
30
50
60
10,2
MC 112
22,0
22,2
29,0
42
70
85
14,3
MC 224
31,0
31,2
41,0
60
100
120
20,3