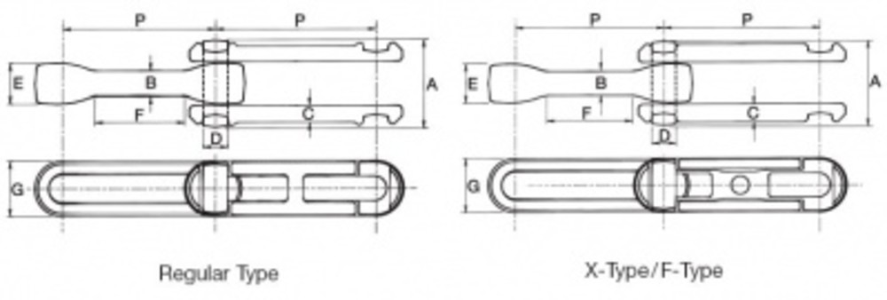
| Chain N° | number of pitch | measuring load (kg) | length tolerance pitch | P | B max. | C nom. | D max. | E +/-0,4 | F min. | G max. | ult. tensile load to | ~ weight kg/m |
|
X 228
|
60
|
45
|
3.050,5 - 3.095,2
|
51,1
|
9,4
|
6,4
|
6,6
|
11,9
|
17,7
|
18,0
|
3,0
|
1,2
|
|
X 348
|
40
|
45
|
3.050,5 - 3.095,2
|
76,6
|
13,2
|
10,2
|
12,7
|
18,8
|
40,4
|
28,0
|
11,0
|
3,3
|
|
X 458
|
30
|
90
|
3.062,2 - 3.096,5
|
102,4
|
16,5
|
12,0
|
16,2
|
25,4
|
58,7
|
37,0
|
22,0
|
4,8
|
|
CC 100
|
30
|
90
|
3.012,0 - 3.037,5
|
100,8
|
16,5
|
12,0
|
16,2
|
25,4
|
58,7
|
37,0
|
22,0
|
4,8
|
|
4“
|
30
|
90
|
3.038,2 - 3.072,5
|
101,6
|
16,5
|
12,0
|
16,2
|
25,4
|
58,7
|
37,0
|
22,0
|
4,8
|
|
X 678
|
20
|
135
|
3.054,9 - 3.082,8
|
153,2
|
21,3
|
18,0
|
22,3
|
32,5
|
84,8
|
52,0
|
38,0
|
10,0
|
|
698
|
20
|
135
|
3.054,9 - 3.082,8
|
153,2
|
25,4
|
22,2
|
28,4
|
39,1
|
58,7
|
64,0
|
60,5
|
17,0
|